Volkswagen решил отказаться от подрулевых указателей поворота
Немецкий бренд Volkswagen запатентовал необычную технологию, предполагающую отказ от традиционных подрулевых переключателей.
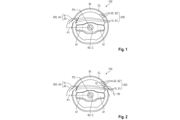
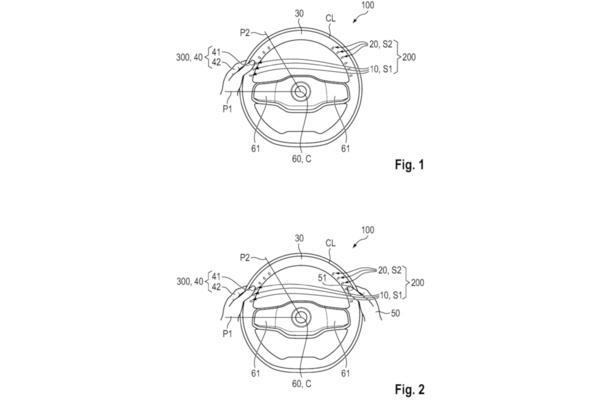
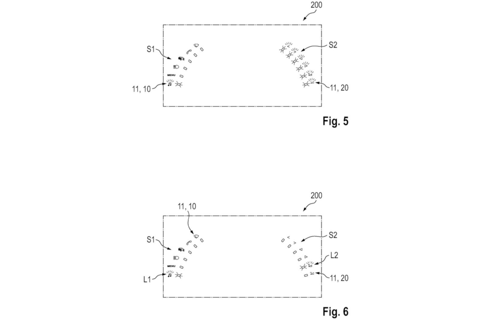
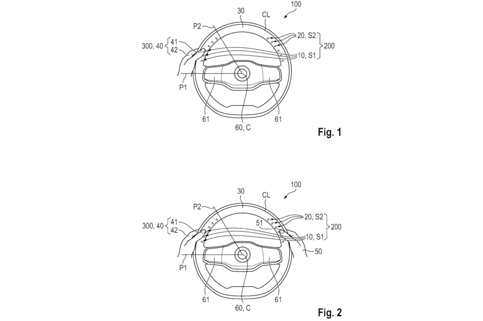
В том числе это коснётся указателей поворота — все функции будут перенесены на руль в виде кнопок. Причём сами клавиши могут быть как традиционными физическими, так и сенсорными.
Так, предлагается разместить на внутренней стороне обода руля все необходимые переключатели: слева — первичные, а справа — вторичные элементы управления. После выбора основной функции (например, переключение передней оптики) кнопками справа можно выбрать один из вариантов действия (включить противотуманные фары или дальний свет). Кроме того, эти же переключатели могут отвечать за управление системой мультимедиа и другими опциями автомобиля.
По задумке инженеров Volkswagen, такая технология сделает безопаснее вождение в целом, так как водителю вообще не придётся убирать руки с руля. Также отказ от дополнительных элементов позволит сэкономить на производстве машин. Специалистам не нужно будет разрабатывать уникальные подрулевые переключатели для каждой новой модели. Однако когда именно инновационная технология может быть запущена в серийное производство, неизвестно.
Анонсирующее фото и фото в материале: carbuzz.com




