В Toyota придумали необычный руль с воздуховодами
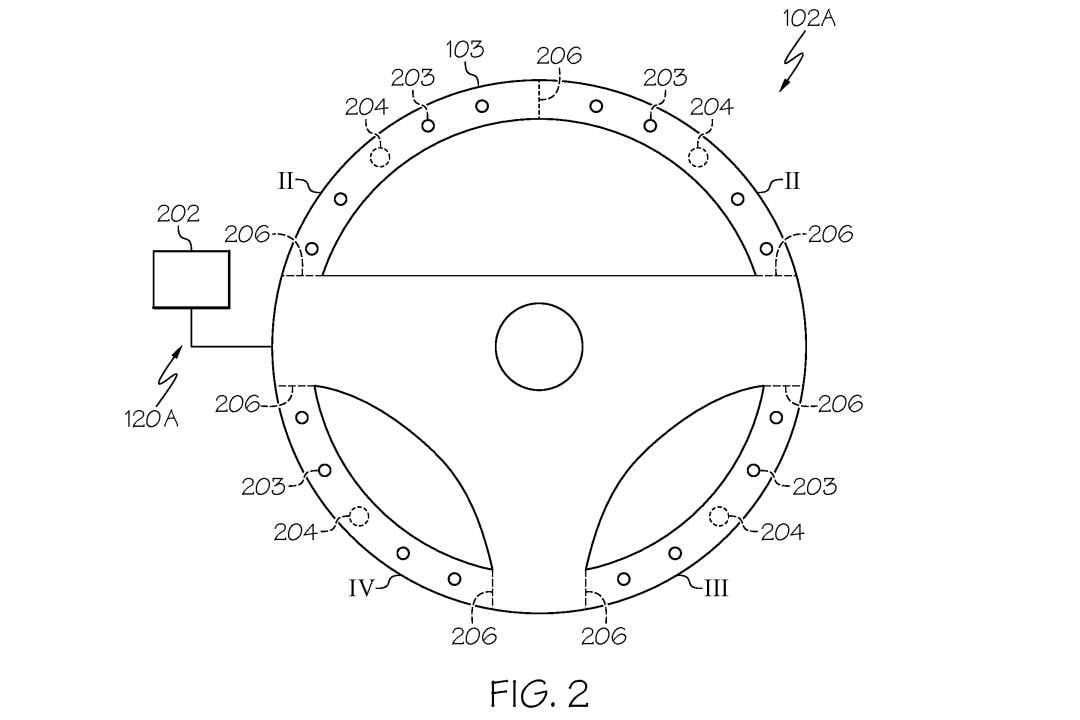
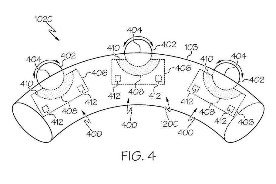
Японская компания Toyota запатентовала самое необычное концептуальное рулевое колесо. Нет, речь не об очередном «штурвале» как у Tesla: японцы встроили в обод руля самые обычные… воздуховоды.
Фото: thedrive.com
Как указано в патентных документах, такая конструкция позволяет водителю гораздо лучше чувствовать автомобиль, а также повысить безопасность вождения в целом. Выходящий из прорезей воздух будет повышать «сцепление» рук автомобилиста с рулём или, наоборот, помогать ослаблять хватку. При автоматическом подруливании, а именно при активных функциях удержания в полосе, а также контроля рядности движения, новая технология сможет предупреждать об этом водителя за счёт создания «воздушной подушки» между руками и ободом руля по аналогии с аэрохоккеем.
Фото: thedrive.com
Если же нужно довернуть руль, чтобы достигнуть правильной траектории, например, при круговом повороте, система в буквальном смысле «притянет» руки водителя к рулю, создавая эффект вакуума. Силу хвата при этом будут определять встроенные датчики давления.
Однако в данное время об установке подобного рулевого колеса на серийные машины даже в качестве опции речи не идёт. Пока что инновация имеет статус концепта и нуждается в нескольких этапах тестирования, доработки при необходимости, а также сертификации в соответствующих ведомствах.
Анонсирующие фото: Somanyhorses.ru


