У автомобилей Bentley может появиться подголовник с выдвижной секцией
Британская марка Bentley запатентовала необычные подголовники с дополнительной выдвижной секцией. Соответствующие документы были опубликованы в Патентном ведомстве Соединённого Королевства.
Фото: carbuzz.com
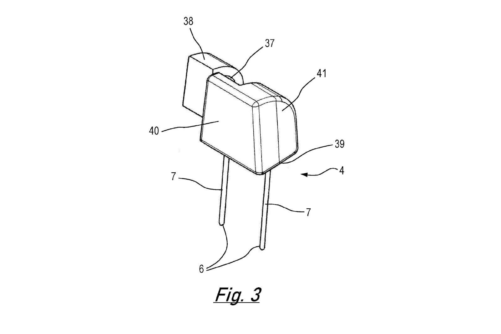
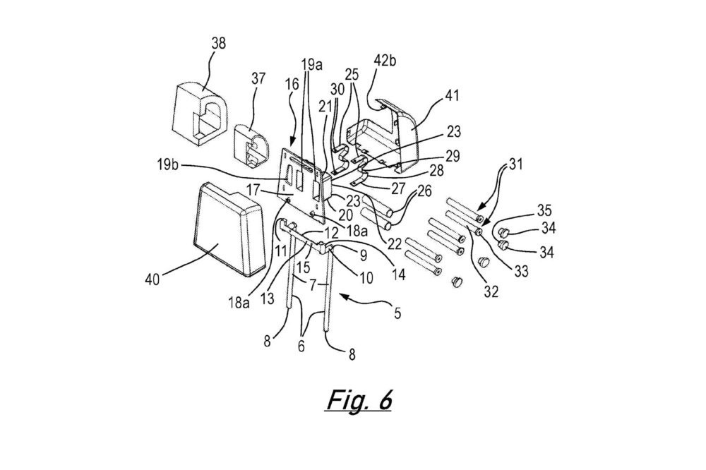
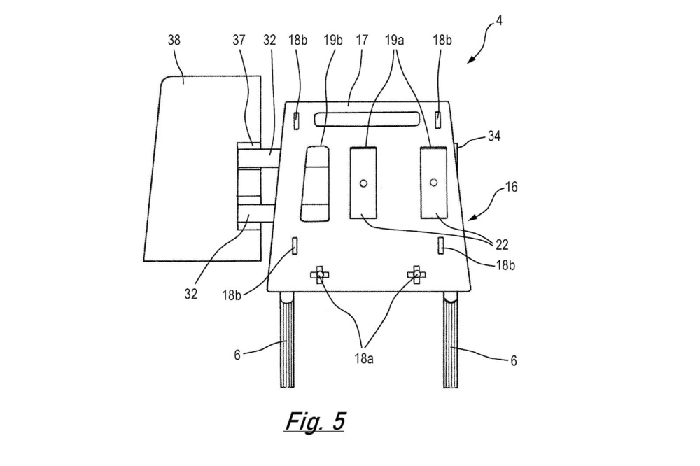
Таким образом, конструкция подголовника состоит из нескольких частей, одна из которых имеет подвижный механизм. Она находится сзади и может сдвигаться влево или вправо в зависимости от сиденья — водительского или пассажирского. Сам механизм будет срабатывать при сильном столкновении одновременно с подушками безопасности: встроенный внутрь подголовника механизм высвободит защёлку и заранее взведённая пружина выдвинет по направляющим дополнительную секцию в сторону.
Фото: carbuzz.com
По задумке авторов разработки, такая необычная конструкция сможет защитить голову переднего пассажира от контакта, к примеру, со средней стойкой кузова или потолочной ручкой. Хотя сейчас для этого используются боковые «шторки» безопасности. При этом инженеры отмечают, что в случае столкновений необходимо учитывать множество параметров, поэтому дополнительная безопасность не будет лишней. Однако когда подобная технология может появиться на серийных автомобилях бренда, не сообщается.
Анонсирующие фото: somanyhorses.ru



