Mazda может выпустить гибридный спорткар с роторным мотором
Японский автопроизводитель Mazda запатентовал новый спорткар с гибридной силовой установкой и полным приводом. Однако одной из главных особенностей модели является роторный двигатель.
Фото: thedrive.com
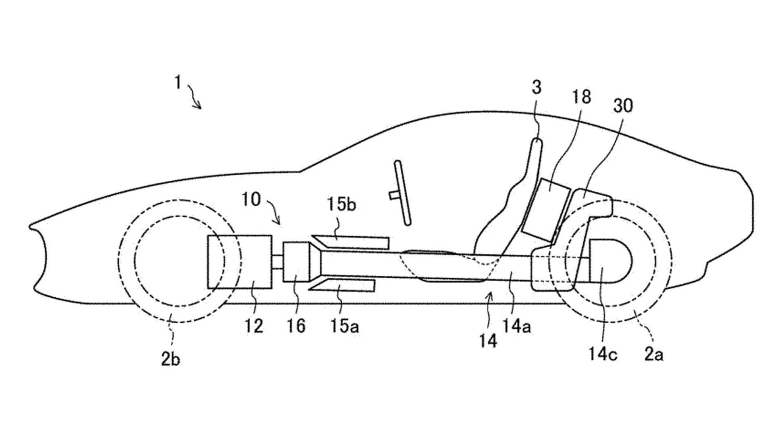
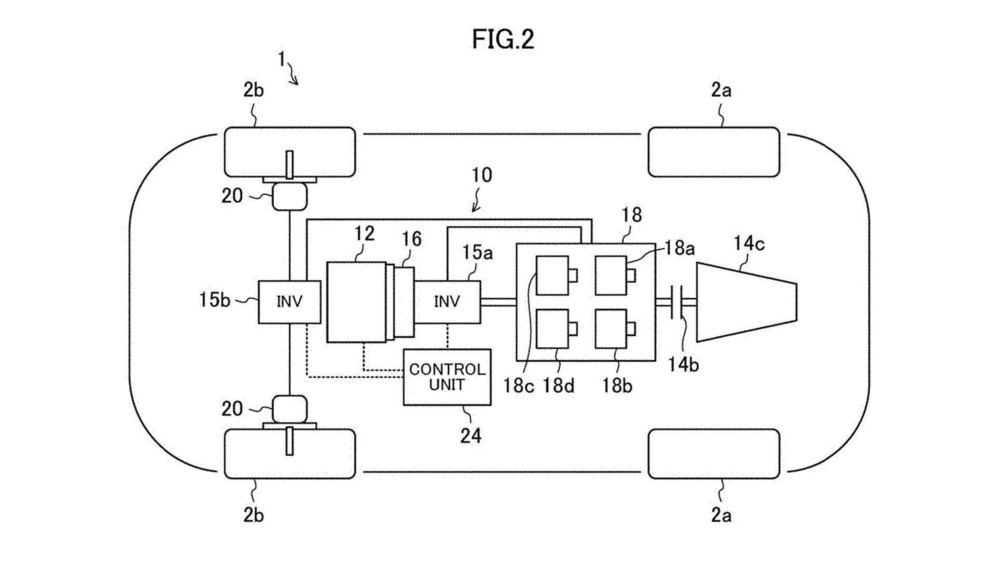
На патентном эскизе изображён силуэт автомобиля в кузове купе с удлинённой передней частью и относительно небольшим задним свесом. Предположительно, машина предназначена только для двоих человек — водителя и пассажира. Сама гибридная установка будет находиться в передней части спорткара. При этом в патентной заявке указано, что возможно два варианта конструкций: традиционный, как у большинства электрокаров, или же электромоторы могут быть встроены напрямую в колёса.
Фото: thedrive.com
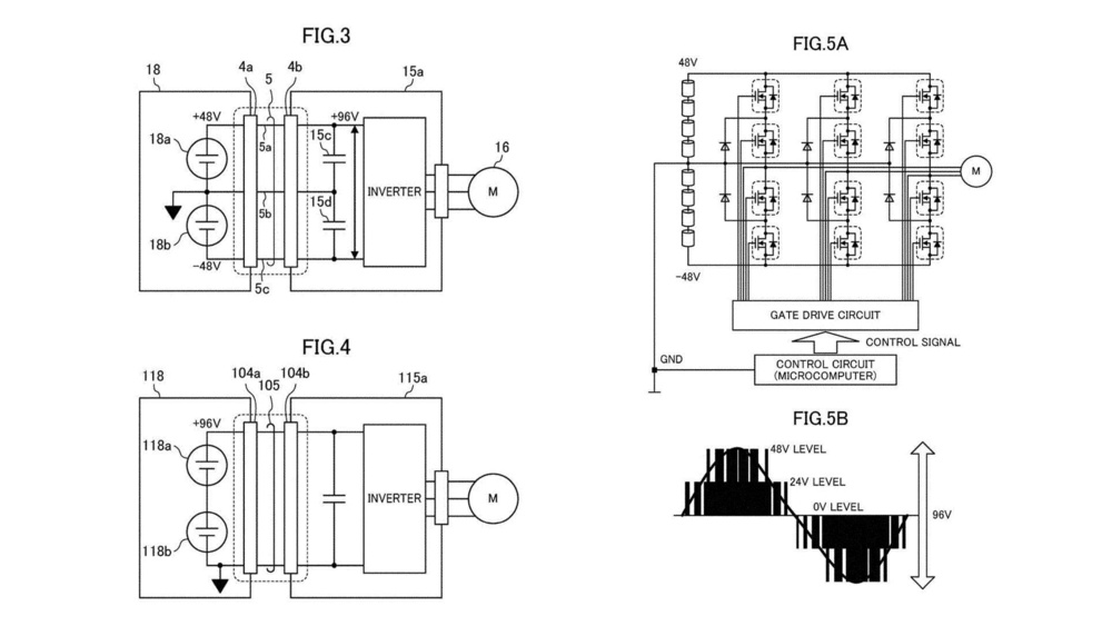
Сама гибридная установка состоит из роторно-поршневого двигателя (РПД), трёх электромоторов и батарей с переменным рабочим напряжением. Спереди находятся два относительно маломощных асинхронных мотор-колеса, выдающих по 23 силы, а непосредственно за двигателем внутреннего сгорания расположен третий электромотор — синхронный на постоянных магнитах. Аккумуляторные блоки смонтируют за пассажирскими сиденьями и система будет работать по довольно интересной схеме. Так, при более низкой нагрузке на систему, модули работают как традиционная 48-вольтовая батарея, но когда требуется полная отдача, то в АКБ срабатывают электрические переключатели для перенастройки двух пар аккумуляторных элементов для последовательной работы при напряжении 96 вольт каждая. Как отмечают в компании, такое решение позволяет снизить массу всей гибридной надстройки, а также повысить безопасность.
Анонсирующие фото: usedcarnews.jp, carsweek.ru



