Электрокары Tesla смогут заряжаться без проводов
Американский автопроизводитель Tesla запатентовал беспроводную станцию для зарядки своих электромобилей.
Ожидается, что новинку покажут на презентации роботакси, которая состоится 10 октября. Причём если эта технология воплотится в жизнь, то Tesla станет первым автобрендом с таким типом зарядки.
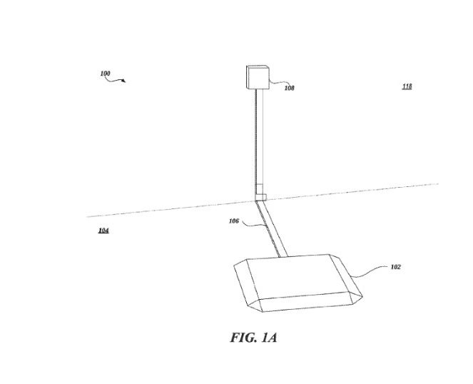
Работа над инновацией стартовала ещё год назад, и тогда инвестиции в проект составили 76 миллионов долларов. Система будет состоять из настенного блока и зарядной панели, встроенной в пол. То есть владелец электрокара заезжает в гараж или на своё парковочное место, и зарядка начинается автоматически. К слову, в патентных документах сказано, что благодаря специальному программному обеспечению беспроводная зарядка получит возможность самостоятельно адаптироваться к конкретным ситуациям.
Судя по всему, первой моделью, которая сможет пользоваться новейшей технологией, будет электропикап Cybertruck: он уже оснащается индуктивными приёмниками. Не исключено, что таким «аккумулятором» снабдят и роботакси, поскольку транспортное средство является беспилотником и, скорее всего, должно заряжаться без участия водителя или оператора.
Анонсирующее фото и фото в материале: electrek.co



