Honda запатентовала для своих авто спойлер из «Формулы-1»
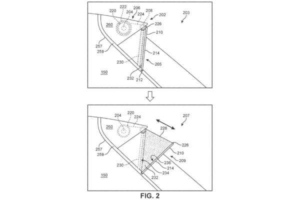
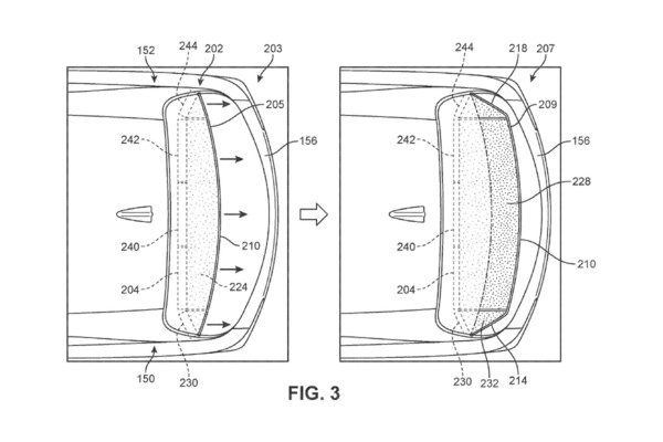
Японский автопроизводитель запатентовал необычный выдвигающийся спойлер, который может получить новое поколение кроссовера CR-V. При создании этой аэродинамической системы под названием Active Aero инженеры вдохновлялись технологиями, применяемыми на болидах «Формулы-1».
Фото: carbuzz.com
Сам спойлер встроен в верхнюю часть задней двери и по принципу действия напоминает рольштору, выдвигаясь с помощью электромоторов. На низких скоростях конструкция находится в сложенном виде, а при более высоких — спойлер выдвигается. Причём деталь сделана из гибкого материала и соединена с основным «антикрылом» специальной планкой. Благодаря такой уникальной конструкции, новинка гораздо легче, чем большинство других выдвижных спойлеров, которые обычно тяжёлые и сложные в плане конструкции.
Фото: carbuzz.com
Однако в патентных документах не уточняется, будет ли новый спойлер как-то усложнять доступ к багажному отделению. При этом обзор конструкция перекрывать не будет, поскольку большую часть времени скрыта от посторонних глаз. Таким образом, Active Aero станет наиболее оптимальным решением для улучшения аэродинамики автомобиля без необходимости отдельно удлинять кузов или же добавлять какие-то дополнительные элементы для уменьшения сопротивления.
Анонсирующие фото: somanyhorses.ru






