Ferrari задумал внедрить «цифрового инструктора» в свои спорткары
Итальянский автопроизводитель Ferrari запатентовал инновационную технологию «электронного инструктора» для своих машин. Такой встроенный «учитель» предназначен для езды по гоночному треку.
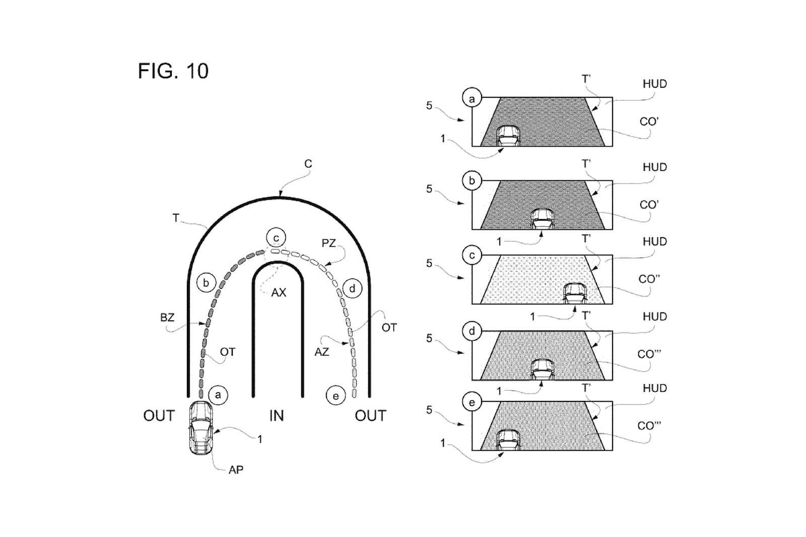
В компании отметили, что большинство владельцев их спорткаров «приезжают на автодромы далеко не каждый день» и привыкли водить свои авто в городском режиме. Именно для таких водителей придумана новая система, поскольку на спортивных трассах требуется совершенно иная манера управления машиной. В какой-то степени гоночного помощника можно сравнить с подсказками в гоночных видеоиграх, когда в определённый момент игроку высвечиваются указания идеальной траектории, нажатие педали газа и тормоза, а также необходимая передача для прохождения того или иного участка трассы.
В случае с реальными спорткарами, Ferrari предлагает с помощью диодных цветовых индикаторов, встроенных по бокам лобового стекла, и особой цветовой кодировки транслировать советы водителю. Например, если в определённой точке трека необходимо более интенсивное торможение, то водитель увидит периферическим зрением красный сигнал, а приближаясь к апексу поворота — синий. Кроме того, электроника может подстраиваться к манере езды и позволит двигаться в индивидуально выбранном комфортном темпе. Также предполагается, что «электронный инструктор» будет связан с рулём и сиденьем: они будут вибрировать с той стороны, в которую нужно довернуть руль, а интенсивность вибрации сделают зависимой от требуемого угла поворота.
Анонсирующие фото и фото в материале: carbuzz.com





