Электрокар Apple может получить раздвижные двери
Крупнейшая технокомпания Apple зарегистрировала в Бюро по патентам и товарным знакам США документы на необычную конструкцию дверей для своего электрокара. Отметим, что появление первого транспортного средства бренда неоднократно переносилось и сейчас запланировано на 2026 год.
Фото: autoevolution.com
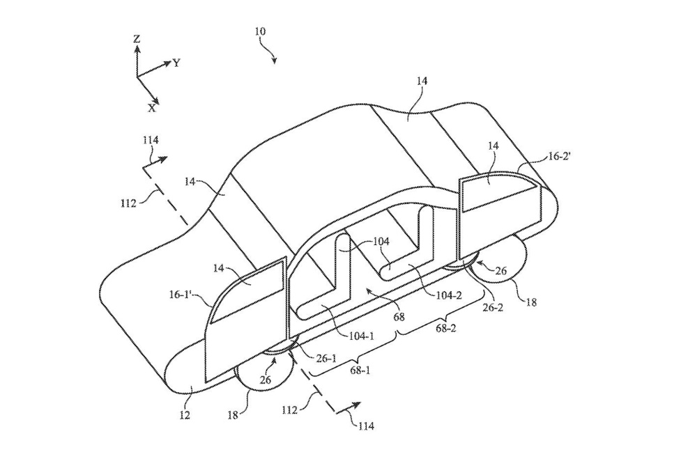
Сама конструкция в патенте описывается как «двери с адаптивным позиционированием» — это «умная» версия обычных сдвижных дверей с сервоприводами. Как видно на эскизе, машина лишена средних стоек кузова, а двери разъезжаются в разные стороны вдоль кузова. Судя по всему, в данном случае заложена идея некоей «гостиной на колёсах». Причём ранее появлялась информация, что электромобиль Apple должен был представлять собой полноценный беспилотник, однако от такого варианта бренд решил отказаться и оснастить машину традиционными органами управления.
Фото: autoevolution.com
Кроме того, в документах указано, что механизм открывания дверей будет самостоятельно распознавать окружающую обстановку и в зависимости от этого решать, до какой степени и какую именно дверь открывать. Например, двери могут максимально сдвигаться к передней и задней части электромобиля, чтобы у пассажиров было больше места на посадку и высадку. Это необходимо на больших парковках, где другие автомобили могут стоять слишком близко друг к другу. Несмотря на то, что сами двери будут управляться с помощью сервоприводов, их можно будет открыть вручную.
Анонсирующие фото: iphone-gps.ru, ixbt.com



